IIW9167 Installation Guide: Step-by-Step

S.Acebounce 61 views
IIW9167 Installation Guide: Step-by-Step

IIW9167 Installation Guide: Step-by-Step

Hey guys, welcome back to another guide! Today, we’re diving deep into the IIW9167 installation process. Whether you’re a seasoned pro or just getting started, this guide is designed to make things as smooth and straightforward as possible. We’ll cover everything from unboxing to final testing, ensuring you get your IIW9167 up and running without a hitch. So, grab your tools, and let’s get this installation party started!

Understanding Your IIW9167

Before we jump into the how-to , let’s talk a little about what the IIW9167 is and why its proper installation is crucial. The IIW9167 is a critical component, and its performance directly impacts the overall system. Think of it as the heart of your operation; if it’s not installed correctly, nothing else will function as it should. We’re going to break down the installation into manageable steps, ensuring that even if you’re new to this, you’ll feel confident throughout the process. We’ll be looking at specific requirements, potential pitfalls, and best practices that will save you time and headaches down the line. Remember, taking the time to understand the unit and its installation needs upfront is the most important step towards a successful setup. We’ll cover the physical mounting, electrical connections, and any necessary software configurations. So, let’s get into the nitty-gritty of preparing for the installation. This involves ensuring you have the right environment, the necessary tools, and all the components laid out and accounted for. We’ll also touch upon safety precautions – because nobody wants an accident on their watch, right? Proper grounding, handling of sensitive parts, and working in a suitable area are all part of the preparation. By the end of this section, you should have a clear picture of what you’re dealing with and what it takes to get the IIW9167 ready for its new home.

Pre-Installation Checklist

Alright, team, before we even think about touching the IIW9167 , we need to make sure we’re prepped. This pre-installation checklist is your best friend. Skipping this step is like trying to bake a cake without measuring your ingredients – messy and likely disappointing! First things first: unpacking and inspection . Carefully open the box and take out your IIW9167. Check for any physical damage that might have occurred during shipping. Look for dents, scratches, or loose parts. If anything looks off, document it immediately and contact your supplier. Next up, component verification . Does everything listed in the manual seem to be in the box? You’ll typically find the main unit, power cables, mounting hardware, and possibly some interface modules or documentation. Lay it all out and compare it against the packing list. Don’t assume anything; double-check! Now, let’s talk about the installation environment . This is super important, guys. Is the location suitable? We’re talking about temperature, humidity, and ventilation. The IIW9167 needs a stable environment to operate optimally. Avoid direct sunlight, excessive dust, or areas prone to vibration. Make sure there’s enough space around the unit for proper airflow and for you to work comfortably during installation and future maintenance. Tool readiness is another biggie. Gather all the tools you’ll need: screwdrivers (Phillips and flathead, probably), wrenches, a level, maybe a torque wrench depending on the mounting requirements, and safety gear like gloves and eye protection. Having everything ready beforehand saves you trips back and forth and keeps the momentum going. Finally, documentation review . Give the official IIW9167 installation manual a thorough read-through. Seriously, don’t skim this! Understand the specific mounting instructions, electrical requirements (voltage, amperage, grounding), and any software pre-configuration needed. Knowing these details before you start will prevent costly mistakes. This checklist isn’t just busywork; it’s your roadmap to a successful and safe installation. Let’s make sure we’re fully prepared before we dive into the actual mounting!

Step-by-Step Installation Process

Okay, we’ve done our homework, and now it’s time to get hands-on with the IIW9167 installation . This is where the magic happens! We’ll go through each step methodically. First, physical mounting . This usually involves attaching mounting brackets to the IIW9167 unit itself, following the specific instructions in your manual. Then, securely mounting the unit to its designated location – whether that’s a wall, a rack, or a specific enclosure. Use the provided hardware and ensure it’s level and stable. Don’t overtighten screws unless specified, as this can damage the unit or the mounting surface. Next, we move on to electrical connections . This is where you need to be extra careful, guys. Ensure the power source is OFF before connecting any cables. Connect the power cord firmly. If there are separate data or control cables, connect those according to the manual’s diagrams. Pay close attention to polarity and pin configurations. Incorrect wiring can lead to immediate damage or unpredictable behavior. We highly recommend double-checking every connection before powering up. After securing the physical and electrical aspects, we’ll tackle initial power-up and basic checks . With all connections confirmed, turn on the power source. Observe the unit for any immediate signs of distress – unusual noises, flashing error lights, or smells. Most units will have an indicator light that shows power status. Check if it lights up as expected. This initial power-up is a crucial diagnostic step. If everything looks good, proceed to interface and configuration . This might involve connecting a console cable for initial setup or accessing the unit via a network interface. Follow the manual’s guide for accessing the device’s interface. You’ll likely need to set basic network parameters, default passwords, and other essential configurations. This is a critical security step , so make sure to change default credentials immediately. Remember, each IIW9167 model might have slight variations, so always refer back to your specific manual for precise details. Don’t rush this part; accuracy is key. We’re building a solid foundation for your IIW9167’s operation, and these steps are fundamental. Keep a cool head, follow the steps, and you’ll be golden!

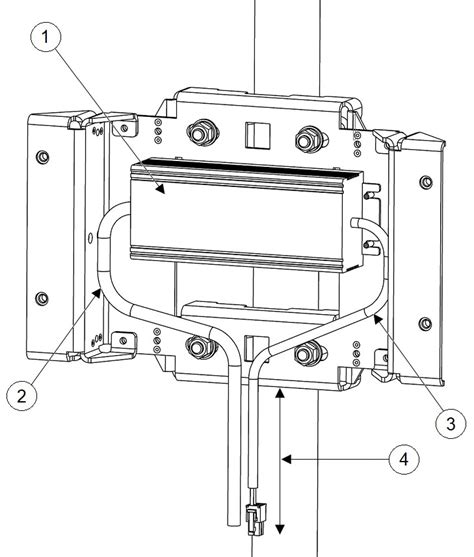
Mounting the IIW9167 Unit

Let’s get down to the nitty-gritty of mounting the IIW9167 unit . This is the physical foundation of your installation, so it needs to be solid. First, identify the exact mounting location as per your site plan or the manual’s recommendations. Ensure the surface is clean, stable, and capable of supporting the weight of the unit. You might be mounting it in a server rack, on a wall, or perhaps within a specialized enclosure. If you’re using a rack, slide rails might be involved; ensure they are installed correctly and securely. For wall mounting, use appropriate anchors for the wall type (drywall, concrete, etc.) to ensure the unit doesn’t end up on the floor. Now, let’s talk about attaching any mounting brackets to the IIW9167 itself. These brackets are usually specific to the unit, so use the ones provided or recommended by the manufacturer. Follow the manual’s diagrams precisely for alignment and screw types. Hand-tighten screws initially to allow for minor adjustments. Once the unit, with its brackets, is positioned correctly, it’s time for the final securing. Use a level to ensure the unit is perfectly horizontal or vertical, as required. Then, securely fasten all mounting screws . Be careful not to overtighten, which can strip the threads or damage the casing. Conversely, don’t leave them too loose, as vibration could cause problems. If the manual specifies torque values, use a torque wrench for precise tightening. Good airflow is key, so ensure that the mounting doesn’t obstruct any ventilation openings on the IIW9167. Leave adequate space around the unit as recommended in the manual for heat dissipation and ease of access for future maintenance. This careful physical mounting ensures the IIW9167 is stable, safe, and optimally positioned for operation.

Connecting Power and Data Cables

Alright folks, we’re moving on to arguably the most critical part of the IIW9167 installation : connecting the power and data cables . This is where attention to detail is paramount. Safety first, always! Before you plug anything in, make absolutely sure that the power source you’ll be using is switched OFF at the breaker or unplugged. Seriously, don’t skip this. It protects you and the equipment. Now, locate the power input port on the IIW9167. Connect the power cable that came with the unit, or a compatible, certified cable. Ensure it’s seated firmly and securely. If your unit has a power switch, ensure it’s in the ‘OFF’ position. Next up are the data and control connections . These can vary widely depending on the IIW9167’s function. Refer to your manual’s wiring diagram. You might be connecting Ethernet cables for network access, serial cables (like RS-232) for management, or other proprietary interfaces. Match the cable connectors precisely to the corresponding ports on the unit. Pay very close attention to pinouts and cable orientation . Forcing a connector the wrong way can bend pins or damage the port. Use the correct type of cable specified in the documentation; using the wrong cable can lead to data errors or complete failure to communicate. If you’re connecting to other devices, ensure those are also properly powered down before making connections. Once all physical connections are double-checked – and I mean triple-checked – you’re ready for the next step. This meticulous approach to cabling ensures reliable communication and prevents electrical hazards. Remember, clear, well-labeled cables make troubleshooting much easier later on!

Initial Power-Up and Configuration

We’ve mounted it, we’ve cabled it, and now it’s time for the big moment: the initial power-up and configuration of your IIW9167 . Take a deep breath! First, confirm one last time that all connections are secure and that the surrounding area is clear of tools and debris. Then, switch ON the power source you connected the IIW9167 to. Immediately observe the unit. Look for any status lights. Typically, there will be a power indicator light that should illuminate. Check the manual for what different light patterns or colors signify. Are there any audible cues, like beeps? Listen for anything unusual. If you see error lights or hear concerning sounds, power down immediately and revisit the cabling and mounting steps. Assuming all looks good, the unit should now be initializing. The next phase is accessing the configuration interface . This usually involves connecting a computer directly via a console cable or connecting to the network interface if basic network settings are already configured. Your manual will detail the specific IP address, subnet mask, and any required software for this initial access. You might need to set your computer’s IP address manually to be on the same subnet. Once you gain access, the first thing you should do is change the default administrator password . This is a critical security measure, guys! Don’t leave it as ‘admin’ or ‘password’. Choose a strong, unique password. After securing the login, proceed to configure essential parameters like network settings (IP address, DNS, gateway), date and time, and any specific operational modes required for your setup. Take your time here and ensure all settings are entered correctly. Incorrect network settings, for example, will prevent the IIW9167 from communicating properly with other devices on your network. Documenting these initial settings is also a good practice for future reference. This careful power-up and configuration sequence sets the stage for the IIW9167 to perform its intended functions reliably.

Testing and Verification

So, you’ve successfully powered up and configured your IIW9167 . Awesome job! But we’re not quite done yet. The testing and verification phase is absolutely essential to ensure everything is working as it should and to catch any potential issues before they become real problems. Think of this as the final quality check. First, let’s perform basic functionality tests . Based on what the IIW9167 does, run through its core functions. If it’s a network device, try pinging it from another computer. Try accessing its web interface or command line again. If it controls something, trigger a simple command and verify the expected output or action. Consult the manual for specific diagnostic tools or test routines that might be built into the unit. Next, we move to performance validation . This is about ensuring the IIW9167 operates within its expected parameters. Monitor its status indicators, check system logs for any errors or warnings during operation, and perhaps run a more intensive test cycle if recommended. If performance metrics are available (like throughput, latency, or power consumption), compare them against the specifications. This step helps confirm that the unit isn’t just on , but that it’s working well . Connectivity checks are also vital. If the IIW9167 communicates with other devices or systems, test these communication links thoroughly. Send data back and forth, verify data integrity, and ensure stable connections. Look for any dropped packets or communication timeouts. Finally, documentation and handover . Once you’re confident that the IIW9167 is installed, configured, and operating correctly, it’s time to document everything. Record the final configuration settings, the date of installation, any serial numbers, and the results of your tests. This documentation is invaluable for future maintenance, troubleshooting, and audits. If you’re handing this over to someone else, ensure they have all the necessary documentation and a brief overview of the installation. This thorough testing phase confirms your hard work and ensures the IIW9167 is ready for reliable service.

Running Diagnostic Tests

Alright guys, let’s talk about running diagnostic tests on your newly installed IIW9167 . This is your safety net, ensuring that everything is operating within the manufacturer’s specifications. Most modern devices, and the IIW9167 is no exception, come with built-in diagnostic capabilities. The first step is to consult your manual – yes, that trusty old friend again! – to find out how to access these diagnostics. Usually, you can trigger them through the device’s web interface, a command-line interface (CLI), or sometimes even a specific button combination during power-up. Once you’ve accessed the diagnostic menu, you’ll likely find a suite of tests. These can range from simple loopback tests for network interfaces, which check if data can be sent and received internally, to more complex component checks that test the health of internal hardware like memory, processors, or power supplies. Some diagnostics might simulate operational loads to check performance under stress. It’s crucial to run the recommended tests outlined in the IIW9167’s documentation. Don’t just pick random ones! Pay close attention to the results. The diagnostics will typically report a ‘pass’ or ‘fail’ status for each test. If any test fails, this indicates a problem that needs addressing. Note down the specific test that failed and any error codes provided. This information is vital for troubleshooting. You might need to re-check connections, configuration settings, or even contact technical support. Interpreting the results is key. A failed test doesn’t always mean a faulty unit; it could be a simple configuration error or a loose cable that wasn’t fully seated. Carefully analyze the failure report in conjunction with your installation steps. Running these diagnostics isn’t just about finding problems; it’s also about gaining confidence that your IIW9167 installation was done correctly and the unit is performing optimally. Don’t skip this crucial step!

Verifying System Integration

Now that your IIW9167 is running diagnostics like a champ, it’s time to tackle verifying system integration . This is where we confirm that your new unit isn’t just working in isolation, but that it’s playing nicely with the rest of your network or system. This step is critical because a standalone device, no matter how well it functions by itself, isn’t much use if it can’t communicate or interact with other components. First, focus on network connectivity . If the IIW9167 is a network-enabled device, ensure it’s reachable from all the relevant points on your network. Try accessing it from different subnets or network segments if applicable. Perform ping tests, traceroutes, and check routing tables to ensure traffic is flowing correctly. Verify that the IP address, subnet mask, and gateway settings are accurate and consistent with your network infrastructure. Next, test data exchange . If the IIW9167 is supposed to send or receive data from other systems (like servers, databases, or other hardware), initiate test data transfers. Monitor the process closely. Are the data packets arriving correctly? Is the data intact and uncorrupted? Are there any transmission errors or delays? Tools like network sniffers can be invaluable here for capturing and analyzing the traffic. Also, consider authentication and authorization . If the IIW9167 needs to authenticate with other services or grant access to users, test these security mechanisms. Try logging in with different user credentials to ensure permissions are set correctly. Finally, check for interoperability with applications . If the IIW9167 interacts with specific software applications, ensure those applications can properly recognize, control, or utilize the IIW9167. This might involve testing specific application functions that rely on the unit. Thorough system integration verification is what separates a functional installation from a truly successful one. It ensures that the IIW9167 becomes a seamless part of your overall infrastructure, contributing effectively to your operational goals. Don’t underestimate the importance of this step, guys!

Troubleshooting Common Issues

Even with the best planning and execution, sometimes things don’t go perfectly during an IIW9167 installation . That’s totally normal, and that’s why we have a section dedicated to troubleshooting common issues . Being prepared to tackle problems head-on can save you a lot of time and frustration. One of the most frequent culprits is power issues . If the unit isn’t powering on, first double-check the power cable connection at both the unit and the power source. Ensure the outlet or power strip is working by testing it with another device. Verify that the correct voltage is being supplied. If there’s a fuse or circuit breaker involved, check if it has tripped. Sometimes, a faulty power supply unit (PSU) can be the cause, though this is less common right out of the box. Next up: connectivity problems . If the IIW9167 isn’t communicating on the network or with other devices, re-examine your data cable connections. Are they securely seated? Is it the correct type of cable? Check the IP address, subnet mask, and gateway settings again – a single incorrect digit can cause all sorts of grief. Ensure no firewall rules are blocking communication. Try connecting directly to the unit with a laptop to isolate the issue. Configuration errors are also very common. If the unit is powering on and connected but not behaving as expected, revisit the configuration steps. Did you change the default password? Are the operational parameters set correctly? Sometimes, a simple factory reset and starting the configuration process again can resolve complex software glitches. Always refer back to the specific section in the manual related to the problem you’re experiencing. For persistent issues, don’t hesitate to consult the manufacturer’s support resources or knowledge base. They often have detailed guides for specific error codes or symptoms. Remember, troubleshooting is a process of elimination. Be methodical, document what you try, and stay patient. You’ll get there!

No Power or Intermittent Power

Let’s tackle a scenario that can cause a bit of panic: no power or intermittent power with your IIW9167 installation . This is often the first thing people check, and thankfully, it’s frequently the easiest to resolve. First, the obvious: check the power cord . Is it plugged in securely at both ends – the IIW9167 unit and the wall outlet or power strip? Try wiggling it slightly at the unit’s port to see if that makes a difference (this might indicate a loose port, but let’s rule out simple connection issues first). If you’re using a power strip or surge protector, bypass it and plug the unit directly into a known working wall outlet. Sometimes, power strips can fail or not provide enough stable power. Verify the power source itself. Plug a different, known-good device into the same outlet to confirm it’s providing power. If the outlet is dead, you’ll need to check your circuit breaker or fuse box. For intermittent power issues, it could be a sign of a loose internal connection or a failing power supply unit (PSU). Listen for any unusual sounds like buzzing or clicking coming from the unit when it does power on. If the unit powers on but then shuts off unexpectedly, it could be an overheating issue. Check that the ventilation openings are clear and that the ambient temperature isn’t too high. If you’ve gone through all these steps and the IIW9167 still has no power or is powering intermittently, it might be time to consider a hardware fault and contact technical support for further assistance. Remember to note down exactly what happens (or doesn’t happen) when you try to power it on – this information will be crucial for support.

Communication and Network Errors

Another common headache during IIW9167 installation is dealing with communication and network errors . This happens when the device is powered on and seems okay, but it’s just not talking to the rest of the world like it should. The first thing to check is your cabling . Are you using the right Ethernet cable (Cat5e, Cat6, etc.)? Is it damaged? Try swapping it out with a known good cable. Ensure the cable is firmly seated in both the IIW9167’s port and the switch or router port. Check the link lights on the IIW9167’s network port and the corresponding port on your switch – usually, solid or blinking lights indicate a physical connection. If the lights are off, it points to a cable issue, a port problem, or the port being disabled. Next, dive into the IP configuration . This is a big one, guys. Double-check the IP address, subnet mask, and default gateway you’ve configured on the IIW9167. Are they correct for your network segment? Is the IP address already in use by another device (an IP conflict)? You can often check this using a network scanning tool or by looking at your DHCP server logs if you’re using dynamic IP assignment. Ensure the IIW9167 is configured to use DHCP if that’s how your network operates, or that its static IP is correctly set and documented. Also, check firewall rules . Your network firewall or even a software firewall on a connected computer might be blocking traffic to or from the IIW9167. You may need to add specific rules to allow communication on the necessary ports. Finally, review the device logs on the IIW9167 itself (if accessible) and on your network equipment (switches, routers, firewalls). Logs often contain specific error messages that can pinpoint the exact nature of the communication breakdown. Troubleshooting these network issues requires a systematic approach, checking each layer of the network stack from the physical cables up to the IP configuration and application-level communication.

Conclusion

And there you have it, folks! We’ve walked through the entire process of the IIW9167 installation , from the crucial pre-installation checklist to the final testing and verification. We covered mounting, wiring, powering up, configuring, and even troubleshooting those pesky common issues. Remember, a successful installation hinges on careful preparation, meticulous execution, and thorough verification. By following these steps and always referring to your official manual, you’re setting yourself up for a reliable and efficient operation of your IIW9167. Don’t get discouraged if you hit a snag; troubleshooting is part of the process. The key is to be systematic and patient. We hope this guide has been helpful and has given you the confidence to tackle the IIW9167 installation head-on. Happy installing!